刮板輸送機緊鏈裝置設計制作技術方案
瀏覽次數:發布日期:2021-02-20
背景技術:
本技術涉及一種刮板輸送機緊鏈裝置。刮板輸送機廣泛用于煤礦作業,刮板機長時間運作,其刮板鏈條因疲勞強度以及鏈條齒輪磨損,鏈條在使用過程中而出現斷鏈、跳鏈及松弛狀態運作,現有的刮板輸送機無檢測鏈條運行過程中運行狀態的裝置,煤礦常用的檢修刮板機鏈條設備大多是采用液壓馬達緊鏈裝置,其造價昂貴,其緊鏈裝置通過電機反轉使鏈條松弛,再檢修刮板機鏈條,這樣截取掉鏈條節后,無法確定鏈條是否達到其應有的張緊狀態,缺少對鏈條張緊的微調,為此,我們提出一種刮板輸送機緊鏈裝置。本技術的目的是為了解決現有技術中存在的缺點,而提出的一種刮板輸送機緊鏈裝置。

為了實現上述目的,本技術采用了如下技術方案:
設計一種刮板輸送機緊鏈裝置,包括機尾架、箱體、行程開關,所述機尾架兩側均連接有滑動軸承座,兩個所述滑動軸承座通過尾輪組件連接,所述滑動軸承座遠離機尾架尾部的一端均連接有絲桿,所述絲桿另一端螺紋連接有第一蝸輪,所述第一蝸輪與第二蝸輪嚙合連接,第一蝸輪和第二蝸輪安裝在箱體的內腔,箱體安裝在機尾架的兩側,所述第二蝸輪均嚙合連接有蝸桿,兩個蝸桿通過花鍵套固定連接,所述花鍵套的兩端設有具有限定作用的擋圈,所述蝸桿遠離花鍵套的一端連接有手輪;
所述箱體內部設有隔板,箱體與隔板形成的立方體內安裝有彈簧組,所述彈簧組連接軸桿,軸桿通過彈簧組固定安裝在箱體內預留孔中,所述軸桿兩軸端通過端蓋安裝在箱體預留孔內,所述軸桿上連接有液壓推桿,液壓推桿垂直于軸桿設置,兩個所述液壓推桿的一端均通過柱銷固定在軸桿上,所述液壓推桿的另一端與第二刮板相抵觸,遠于液壓推桿最大長度的位置處設有阻鏈器,所述阻鏈器固定住第一刮板;
所述機尾架兩側焊接有底板,所述底板上連接有立桿,所述立桿遠離底板的一端連接連桿,所述連桿上安裝有行程開關,行程開關位于尾輪組件包括有的鏈條正上方。
優選的,所述液壓推桿的液壓管路設有單向鎖。
優選的,兩個液壓推桿互相平行設置。
優選的,所述第一蝸輪為中空結構,且與絲桿螺紋連接。
優選的,所述手輪上設有防滑紋。
本技術提出的一種刮板輸送機緊鏈裝置,有益效果在于:行程開關的可有效的檢測刮板機鏈條狀態,更科學方便的檢測鏈條是否處于斷鏈或松弛狀態,再進行對鏈條進行更換或調節其張緊;液壓推桿與阻鏈器配套使用方便對鏈條節進行截取,截取鏈條節使其達到緊鏈效果,蝸輪蝸桿與絲桿配套使用,帶動機尾架上滑動軸承座移動,達到對鏈條進行微調張緊的效果,并使其達到所需要的工作張緊狀態。本技術裝置結構簡單,方便使用,更好的節約煤礦檢修刮板機鏈條作業時間,不影響其正常生產作業,有效的減輕人員檢修強度以及節約檢修成本。
附圖說明
一種刮板輸送機緊鏈裝置的結構示意圖;

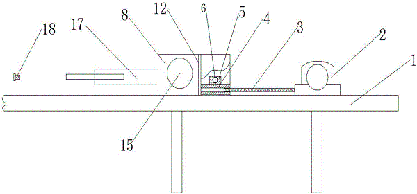
圖中:機尾架1、滑動軸承座2、絲桿3、第一蝸輪4、第二蝸輪5、蝸桿6、手輪7、箱體8、花鍵套9、擋圈10、尾輪組件11、隔板12、彈簧組13、軸桿14、端蓋15、柱銷16、液壓推桿17、阻鏈器18、第一刮板19、第二刮板20、底板21、立桿22、連桿23、行程開關24。
具體實施方式
下面將結合本技術實施例中的附圖,對本技術實施例中的技術方案進行清楚、完整地描述,顯然,所描述的實施例僅僅是本技術一部分實施例,而不是全部的實施例。
參照圖1-4,一種刮板輸送機緊鏈裝置,包括機尾架1、箱體8、行程開關24,機尾架1兩側均連接有滑動軸承座2,兩個滑動軸承座2通過尾輪組件11連接,滑動軸承座2遠離機尾架1尾部的一端均連接有絲桿3,絲桿3另一端螺紋連接有第一蝸輪4,第一蝸輪4為中空結構,且與絲桿3螺紋連接,實現絲桿3在第一蝸輪4中空結構內往復直線運動,第一蝸輪4與第二蝸輪5嚙合連接,第一蝸輪4和第二蝸輪5安裝在箱體8的內腔,箱體8安裝在機尾架1的兩側,第二蝸輪5均嚙合連接有蝸桿6,兩個蝸桿6通過花鍵套9固定連接,花鍵套9的兩端設有具有限定作用的擋圈10,蝸桿6遠離花鍵套9的一端連接有手輪7,手輪7上設有防滑紋,手輪7便于手動操作。
箱體8內部設有隔板12,箱體8與隔板12形成的立方體內安裝有彈簧組13,彈簧組13連接軸桿14,軸桿14通過彈簧組13固定安裝在箱體8內預留孔中,軸桿14兩軸端通過端蓋15安裝在箱體8預留孔內,軸桿14上連接有液壓推桿17,液壓推桿17垂直于軸桿14設置,兩個液壓推桿17互相平行設置,兩個液壓推桿17的一端均通過柱銷16固定在軸桿14上,液壓推桿17的另一端與第二刮板20相抵觸,液壓推桿17的液壓管路設有單向鎖作用于液壓推桿17液壓回路,起單向閉鎖作用,遠于液壓推桿17最大長度的位置處設有阻鏈器18,阻鏈器18固定住第一刮板19。
機尾架1兩側焊接有底板21,底板21上連接有立桿22,立桿22遠離底板21的一端連接連桿23,連桿23上安裝有行程開關24,行程開關24位于尾輪組件11包括有的鏈條正上方。
工作原理:通過配套的行程開關24檢測特定時限內接觸到刮板機鏈條就會有輸出信號,超過時限行程開關信號沒變化說明鏈條處于斷鏈或鏈條松弛狀態;液壓推桿17抵觸第二刮板20,使第二刮板20向被阻鏈器18定位的第一刮板19移動,使鏈條松弛,截取鏈條節,再重新對接鏈條,閉合液壓推桿17,取掉阻鏈器18,再通過手輪7轉動,蝸桿6帶動第二蝸輪5轉動,第二蝸輪5帶動第一蝸輪4轉動,第一蝸輪4作用于絲桿3螺紋傳動,絲桿3在第一蝸桿4內部往復直線運動,絲桿3帶動滑動軸承座2移動,實現同步微調節兩側鏈條張緊,使其達到應有的張緊狀態。
技術特征:
1.一種刮板輸送機緊鏈裝置,包括機尾架(1)、箱體(8)、行程開關(24),所述機尾架(1)兩側均連接有滑動軸承座(2),兩個所述滑動軸承座(2)通過尾輪組件(11)連接,所述滑動軸承座(2)遠離機尾架(1)尾部的一端均連接有絲桿(3),所述絲桿(3)另一端螺紋連接有第一蝸輪(4),所述第一蝸輪(4)與第二蝸輪(5)嚙合連接,第一蝸輪(4)和第二蝸輪(5)安裝在箱體(8)的內腔,箱體(8)安裝在機尾架(1)的兩側,所述第二蝸輪(5)均嚙合連接有蝸桿(6),兩個蝸桿(6)通過花鍵套(9)固定連接,所述花鍵套(9)的兩端設有具有限定作用的擋圈(10),所述蝸桿(6)遠離花鍵套(9)的一端連接有手輪(7);
其特征在于,所述箱體(8)內部設有隔板(12),箱體(8)與隔板(12)形成的立方體內安裝有彈簧組(13),所述彈簧組(13)連接軸桿(14),軸桿(14)通過彈簧組(13)固定安裝在箱體(8)內預留孔中,所述軸桿(14)兩軸端通過端蓋(15)安裝在箱體(8)預留孔內,所述軸桿(14)上連接有液壓推桿(17),液壓推桿(17)垂直于軸桿(14)設置,兩個所述液壓推桿(17)的一端均通過柱銷(16)固定在軸桿(14)上,所述液壓推桿(17)的另一端與第二刮板(20)相抵觸,遠于液壓推桿(17)最大長度的位置處設有阻鏈器(18),所述阻鏈器(18)固定住第一刮板(19);
所述機尾架(1)兩側焊接有底板(21),所述底板(21)上連接有立桿(22),所述立桿(22)遠離底板(21)的一端連接連桿(23),所述連桿(23)上安裝有行程開關(24),行程開關(24)位于尾輪組件(11)包括有的鏈條正上方。
2.根據實用要求1所述的一種刮板輸送機緊鏈裝置,其特征在于,所述液壓推桿(17)的液壓管路設有單向鎖。
3.根據實用要求1所述的一種刮板輸送機緊鏈裝置,其特征在于,所述兩個液壓推桿(17)互相平行設置。
4.根據實用要求1所述的一種刮板輸送機緊鏈裝置,其特征在于,所述第一蝸輪(4)為中空結構,且與絲桿(3)螺紋連接。
5.根據實用要求1所述的一種刮板輸送機緊鏈裝置,其特征在于,所述手輪(7)上設有防滑紋。
技術總結
本技術涉及刮板輸送機設備技術領域,尤其是一種刮板輸送機緊鏈裝置,包括機尾架,所述箱體內部設有隔板,所述箱體內預留孔安裝有軸桿,所述軸桿兩軸端通過端蓋安裝在箱體預留孔內,所述軸桿上遠離花鍵套的一端連接有液壓推桿,兩個所述液壓推桿的一端均通過柱銷固定在軸桿上,所述液壓推桿的另一端與第二刮板相抵觸,所述阻鏈器設置在遠于液壓推桿最大長度的位置,阻鏈器固定住第一刮板。本技術裝置結構簡單,方便使用,更好的節約煤礦檢修刮板機鏈條作業時間,不影響其正常生產作業,有效的減輕人員檢修強度以及節約檢修成本。
本技術涉及一種刮板輸送機緊鏈裝置。刮板輸送機廣泛用于煤礦作業,刮板機長時間運作,其刮板鏈條因疲勞強度以及鏈條齒輪磨損,鏈條在使用過程中而出現斷鏈、跳鏈及松弛狀態運作,現有的刮板輸送機無檢測鏈條運行過程中運行狀態的裝置,煤礦常用的檢修刮板機鏈條設備大多是采用液壓馬達緊鏈裝置,其造價昂貴,其緊鏈裝置通過電機反轉使鏈條松弛,再檢修刮板機鏈條,這樣截取掉鏈條節后,無法確定鏈條是否達到其應有的張緊狀態,缺少對鏈條張緊的微調,為此,我們提出一種刮板輸送機緊鏈裝置。本技術的目的是為了解決現有技術中存在的缺點,而提出的一種刮板輸送機緊鏈裝置。

為了實現上述目的,本技術采用了如下技術方案:
設計一種刮板輸送機緊鏈裝置,包括機尾架、箱體、行程開關,所述機尾架兩側均連接有滑動軸承座,兩個所述滑動軸承座通過尾輪組件連接,所述滑動軸承座遠離機尾架尾部的一端均連接有絲桿,所述絲桿另一端螺紋連接有第一蝸輪,所述第一蝸輪與第二蝸輪嚙合連接,第一蝸輪和第二蝸輪安裝在箱體的內腔,箱體安裝在機尾架的兩側,所述第二蝸輪均嚙合連接有蝸桿,兩個蝸桿通過花鍵套固定連接,所述花鍵套的兩端設有具有限定作用的擋圈,所述蝸桿遠離花鍵套的一端連接有手輪;
所述箱體內部設有隔板,箱體與隔板形成的立方體內安裝有彈簧組,所述彈簧組連接軸桿,軸桿通過彈簧組固定安裝在箱體內預留孔中,所述軸桿兩軸端通過端蓋安裝在箱體預留孔內,所述軸桿上連接有液壓推桿,液壓推桿垂直于軸桿設置,兩個所述液壓推桿的一端均通過柱銷固定在軸桿上,所述液壓推桿的另一端與第二刮板相抵觸,遠于液壓推桿最大長度的位置處設有阻鏈器,所述阻鏈器固定住第一刮板;
所述機尾架兩側焊接有底板,所述底板上連接有立桿,所述立桿遠離底板的一端連接連桿,所述連桿上安裝有行程開關,行程開關位于尾輪組件包括有的鏈條正上方。
優選的,所述液壓推桿的液壓管路設有單向鎖。
優選的,兩個液壓推桿互相平行設置。
優選的,所述第一蝸輪為中空結構,且與絲桿螺紋連接。
優選的,所述手輪上設有防滑紋。
本技術提出的一種刮板輸送機緊鏈裝置,有益效果在于:行程開關的可有效的檢測刮板機鏈條狀態,更科學方便的檢測鏈條是否處于斷鏈或松弛狀態,再進行對鏈條進行更換或調節其張緊;液壓推桿與阻鏈器配套使用方便對鏈條節進行截取,截取鏈條節使其達到緊鏈效果,蝸輪蝸桿與絲桿配套使用,帶動機尾架上滑動軸承座移動,達到對鏈條進行微調張緊的效果,并使其達到所需要的工作張緊狀態。本技術裝置結構簡單,方便使用,更好的節約煤礦檢修刮板機鏈條作業時間,不影響其正常生產作業,有效的減輕人員檢修強度以及節約檢修成本。
附圖說明
一種刮板輸送機緊鏈裝置的結構示意圖;

圖中:機尾架1、滑動軸承座2、絲桿3、第一蝸輪4、第二蝸輪5、蝸桿6、手輪7、箱體8、花鍵套9、擋圈10、尾輪組件11、隔板12、彈簧組13、軸桿14、端蓋15、柱銷16、液壓推桿17、阻鏈器18、第一刮板19、第二刮板20、底板21、立桿22、連桿23、行程開關24。
具體實施方式
下面將結合本技術實施例中的附圖,對本技術實施例中的技術方案進行清楚、完整地描述,顯然,所描述的實施例僅僅是本技術一部分實施例,而不是全部的實施例。
參照圖1-4,一種刮板輸送機緊鏈裝置,包括機尾架1、箱體8、行程開關24,機尾架1兩側均連接有滑動軸承座2,兩個滑動軸承座2通過尾輪組件11連接,滑動軸承座2遠離機尾架1尾部的一端均連接有絲桿3,絲桿3另一端螺紋連接有第一蝸輪4,第一蝸輪4為中空結構,且與絲桿3螺紋連接,實現絲桿3在第一蝸輪4中空結構內往復直線運動,第一蝸輪4與第二蝸輪5嚙合連接,第一蝸輪4和第二蝸輪5安裝在箱體8的內腔,箱體8安裝在機尾架1的兩側,第二蝸輪5均嚙合連接有蝸桿6,兩個蝸桿6通過花鍵套9固定連接,花鍵套9的兩端設有具有限定作用的擋圈10,蝸桿6遠離花鍵套9的一端連接有手輪7,手輪7上設有防滑紋,手輪7便于手動操作。
箱體8內部設有隔板12,箱體8與隔板12形成的立方體內安裝有彈簧組13,彈簧組13連接軸桿14,軸桿14通過彈簧組13固定安裝在箱體8內預留孔中,軸桿14兩軸端通過端蓋15安裝在箱體8預留孔內,軸桿14上連接有液壓推桿17,液壓推桿17垂直于軸桿14設置,兩個液壓推桿17互相平行設置,兩個液壓推桿17的一端均通過柱銷16固定在軸桿14上,液壓推桿17的另一端與第二刮板20相抵觸,液壓推桿17的液壓管路設有單向鎖作用于液壓推桿17液壓回路,起單向閉鎖作用,遠于液壓推桿17最大長度的位置處設有阻鏈器18,阻鏈器18固定住第一刮板19。
機尾架1兩側焊接有底板21,底板21上連接有立桿22,立桿22遠離底板21的一端連接連桿23,連桿23上安裝有行程開關24,行程開關24位于尾輪組件11包括有的鏈條正上方。
工作原理:通過配套的行程開關24檢測特定時限內接觸到刮板機鏈條就會有輸出信號,超過時限行程開關信號沒變化說明鏈條處于斷鏈或鏈條松弛狀態;液壓推桿17抵觸第二刮板20,使第二刮板20向被阻鏈器18定位的第一刮板19移動,使鏈條松弛,截取鏈條節,再重新對接鏈條,閉合液壓推桿17,取掉阻鏈器18,再通過手輪7轉動,蝸桿6帶動第二蝸輪5轉動,第二蝸輪5帶動第一蝸輪4轉動,第一蝸輪4作用于絲桿3螺紋傳動,絲桿3在第一蝸桿4內部往復直線運動,絲桿3帶動滑動軸承座2移動,實現同步微調節兩側鏈條張緊,使其達到應有的張緊狀態。
技術特征:
1.一種刮板輸送機緊鏈裝置,包括機尾架(1)、箱體(8)、行程開關(24),所述機尾架(1)兩側均連接有滑動軸承座(2),兩個所述滑動軸承座(2)通過尾輪組件(11)連接,所述滑動軸承座(2)遠離機尾架(1)尾部的一端均連接有絲桿(3),所述絲桿(3)另一端螺紋連接有第一蝸輪(4),所述第一蝸輪(4)與第二蝸輪(5)嚙合連接,第一蝸輪(4)和第二蝸輪(5)安裝在箱體(8)的內腔,箱體(8)安裝在機尾架(1)的兩側,所述第二蝸輪(5)均嚙合連接有蝸桿(6),兩個蝸桿(6)通過花鍵套(9)固定連接,所述花鍵套(9)的兩端設有具有限定作用的擋圈(10),所述蝸桿(6)遠離花鍵套(9)的一端連接有手輪(7);
其特征在于,所述箱體(8)內部設有隔板(12),箱體(8)與隔板(12)形成的立方體內安裝有彈簧組(13),所述彈簧組(13)連接軸桿(14),軸桿(14)通過彈簧組(13)固定安裝在箱體(8)內預留孔中,所述軸桿(14)兩軸端通過端蓋(15)安裝在箱體(8)預留孔內,所述軸桿(14)上連接有液壓推桿(17),液壓推桿(17)垂直于軸桿(14)設置,兩個所述液壓推桿(17)的一端均通過柱銷(16)固定在軸桿(14)上,所述液壓推桿(17)的另一端與第二刮板(20)相抵觸,遠于液壓推桿(17)最大長度的位置處設有阻鏈器(18),所述阻鏈器(18)固定住第一刮板(19);
所述機尾架(1)兩側焊接有底板(21),所述底板(21)上連接有立桿(22),所述立桿(22)遠離底板(21)的一端連接連桿(23),所述連桿(23)上安裝有行程開關(24),行程開關(24)位于尾輪組件(11)包括有的鏈條正上方。
2.根據實用要求1所述的一種刮板輸送機緊鏈裝置,其特征在于,所述液壓推桿(17)的液壓管路設有單向鎖。
3.根據實用要求1所述的一種刮板輸送機緊鏈裝置,其特征在于,所述兩個液壓推桿(17)互相平行設置。
4.根據實用要求1所述的一種刮板輸送機緊鏈裝置,其特征在于,所述第一蝸輪(4)為中空結構,且與絲桿(3)螺紋連接。
5.根據實用要求1所述的一種刮板輸送機緊鏈裝置,其特征在于,所述手輪(7)上設有防滑紋。
技術總結
本技術涉及刮板輸送機設備技術領域,尤其是一種刮板輸送機緊鏈裝置,包括機尾架,所述箱體內部設有隔板,所述箱體內預留孔安裝有軸桿,所述軸桿兩軸端通過端蓋安裝在箱體預留孔內,所述軸桿上遠離花鍵套的一端連接有液壓推桿,兩個所述液壓推桿的一端均通過柱銷固定在軸桿上,所述液壓推桿的另一端與第二刮板相抵觸,所述阻鏈器設置在遠于液壓推桿最大長度的位置,阻鏈器固定住第一刮板。本技術裝置結構簡單,方便使用,更好的節約煤礦檢修刮板機鏈條作業時間,不影響其正常生產作業,有效的減輕人員檢修強度以及節約檢修成本。
上一篇:垃圾預處理板喂機設計技術總結